高扬程九游会·j9中国官方网站-首页结构:HH型高扬程九游会·j9中国官方网站-首页为悬臂、卧式双壳轴向吸入离心式九游会·j9中国官方网站-首页。泵的吐出口位置可根据需要按45℃间隔,旋转八个不同的角度安装使用。
高扬程九游会·j9中国官方网站-首页材质:HH型九游会·j9中国官方网站-首页的泵体具有可更换的耐磨金属内衬,叶轮、护套、护板等过流部件均采用高铬耐磨金属。
高扬程九游会·j9中国官方网站-首页使用:在小流量低扬程区域内,可以输送强磨蚀渣浆;在高扬程大流量区域内输送轻磨蚀渣浆。适用于冶金、矿山、煤炭、电力、建材等工业部门输送强磨蚀、高浓度渣浆,该类型泵也可以多级串联使用。
密封形式:填料密封、副叶轮密封、填料加副叶轮密封、机械密封等型式。
高扬程九游会·j9中国官方网站-首页传动型式:DC直联传动,CR平行皮带传动,ZVZ上下皮带传动,CV立式皮带传动等型式。
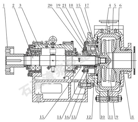
九游会·j9中国官方网站-首页结构图 / Structure
![]() |
1、 联轴器
|

全国服务热线













销售一部